Loading...
EA987GP-3A 1.0 ton/M12x18mm ロ-ドリング
- 商品コード:
- EC3208
- メーカー:
- JANコード:
- 4550061002452
- 税率:
- 10%
- 品番:
- EA987GP-3A
- 学校版カタログ
- 非掲載
- 幼保版カタログ
- 非掲載
- 商品詳細
-
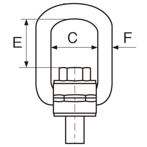
●メーカー…ルッドリフティングジャパン(RUD)●型番…VLBG-PLUS 1.35t M12●使用荷重…1.35t●ねじ径…M12×18●サイズ…C:34mmE:38mmF:10mm※詳細はエスコ寸法図を参照ください。●重量…0.34kg●材質…本体:ニッケルクロムモリブデン鋼ボルト:ICE鋼(高いタフネス性・低温耐衝撃性)●特殊パープルパウダー塗装●温度により変化する、現場で目立つ蛍光パープル色●並目●参考在庫数・商品詳細・サイズ情報はメーカー(参考)URLからもご確認いただけます。 ●最小出荷単位: 1
- 本体サイズ
- お手数をお掛けいたしますが、下記参考URLよりご確認ください。
- 個装サイズ
- お手数をお掛けいたしますが、下記参考URLよりご確認ください。
メーカー希望小売価格
24,200
円(税抜)
販売価格
26,620
円(税込)
24,200 円 (税抜)



