Loading...
φ60.5x850バリケドスタンドSUS製・フック付
- 商品コード:
- EG2124
- メーカー:
- JANコード:
- 4550061484951
- 税率:
- 10%
- 品番:
- EA983FK-111
- 学校版カタログ
- 非掲載
- 幼保版カタログ
- 非掲載
- 商品詳細
-
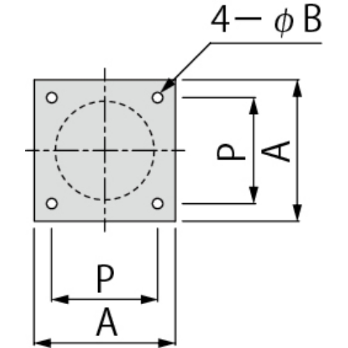
●メーカー…カネソウ●型番…EA0685RC-A●サイズ(mm)…φ60.5×850(H)●ベースサイズ…A:150mm P:100mm B:12mmプレート厚さ:6mm●板厚…1.5mm●重量…3kg●材質…〈本体支柱〉材質:SUS304処理:ヘアライン仕上●両フック付●別売りの【M10あと施工アンカー】で固定できます。(メーカー推奨アンカーサイズはM10x80mm)●参考在庫数・商品詳細・サイズ情報はメーカー(参考)URLからもご確認いただけます。 ●最小出荷単位: 1
- 本体サイズ
- お手数をお掛けいたしますが、下記参考URLよりご確認ください。
- 個装サイズ
- お手数をお掛けいたしますが、下記参考URLよりご確認ください。
メーカー希望小売価格
29,900
円(税抜)
販売価格
32,890
円(税込)
29,900 円 (税抜)












