Loading...
65mmキャスター自在金具低床重荷重ブレーキ
- 商品コード:
- EG2670
- メーカー:
- ナンシン
- JANコード:
- 4550061553107
- 税率:
- 10%
- 品番:
- EA986PX-65
- 学校版カタログ
- 非掲載
- 幼保版カタログ
- 非掲載
- 商品詳細
-
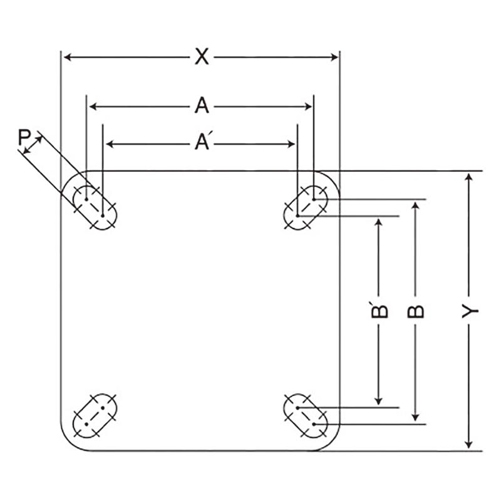
●メーカー…ナンシン●型番…STH-65GNB S-12●仕様…自在ストッパー付●材質…金具:スチール、車輪:強化ナイロン(ベアリング入)●耐熱温度…100℃●取付穴ピッチ…80×80mm●サイズ(mm)…車輪径×幅:65×45全高:92●穴径(P)…11.0mm●X×Y…104×119mm●A×B(A’×B’)…80×80(78×78)mm●耐荷重…600kg●ベアリング入●参考在庫数・商品詳細・サイズ情報はメーカー(参考)URLからもご確認いただけます。 ●最小出荷単位: 1
- 本体サイズ
- お手数をお掛けいたしますが、下記参考URLよりご確認ください。
- 個装サイズ
- お手数をお掛けいたしますが、下記参考URLよりご確認ください。
メーカー希望小売価格
6,960
円(税抜)
販売価格
7,656
円(税込)
6,960 円 (税抜)













