Loading...
120-138mm丸型ガラリ(ステンレス製)
- 商品コード:
- EB5720
- メーカー:
- JANコード:
- 4518340340541
- 税率:
- 10%
- 品番:
- EA997MA-125
- 学校版カタログ
- 非掲載
- 幼保版カタログ
- 非掲載
- 商品詳細
-
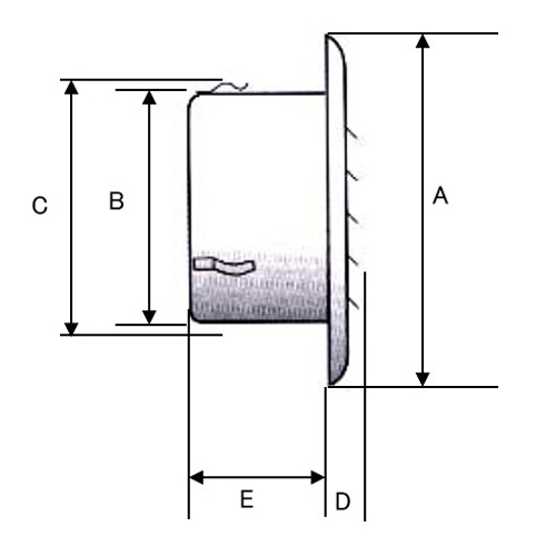
●メーカー…宇佐美工業●型番…UK-SGN125S-DK●適合パイプ(内径)…120~138mm●水止め高さ…37mm●相当開口面積…30.96cm2●換気面積…33.6cm2(有効面積)●材質…SUS304●仕上…電解研磨処理●外壁用 自然給排気口●防虫網(12メッシュ)付●溶接組立式●建物の美観を損なう心配のない、シンプルなデザインの丸型ガラリ●屋根の有るテラス・バルコニーの設置に最適です。●参考在庫数・商品詳細・サイズ情報はメーカー(参考)URLからもご確認いただけます。 ●最小出荷単位: 1
- 本体サイズ
- お手数をお掛けいたしますが、下記参考URLよりご確認ください。
- 個装サイズ
- お手数をお掛けいたしますが、下記参考URLよりご確認ください。
メーカー希望小売価格
1,960
円(税抜)
販売価格
2,156
円(税込)
1,960 円 (税抜)









![48mmx32m超強力万能ダクトテープ(白)[DUCK]](https://d11w49g8ylcixs.cloudfront.net/upload/save_image/200/EF9525_01_260113.jpg)



