Loading...
145-160mm丸型ガラリ(ステンレス製)
- 商品コード:
- EB5721
- メーカー:
- JANコード:
- 4518340340558
- 税率:
- 10%
- 品番:
- EA997MA-150
- 学校版カタログ
- 非掲載
- 幼保版カタログ
- 非掲載
- 商品詳細
-
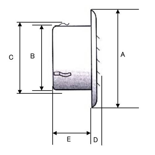
●メーカー…宇佐美工業●型番…UK-SGN150S-DK●適合パイプ(内径)…145~160mm●水止め高さ…50mm●相当開口面積…53.55cm2●換気面積…75.5cm2(有効面積)●材質…SUS304●仕上…電解研磨処理●外壁用 自然給排気口●防虫網(12メッシュ)付●溶接組立式●建物の美観を損なう心配のない、シンプルなデザインの丸型ガラリ●屋根の有るテラス・バルコニーの設置に最適です。●参考在庫数・商品詳細・サイズ情報はメーカー(参考)URLからもご確認いただけます。 ●最小出荷単位: 1
- 本体サイズ
- お手数をお掛けいたしますが、下記参考URLよりご確認ください。
- 個装サイズ
- お手数をお掛けいたしますが、下記参考URLよりご確認ください。
メーカー希望小売価格
2,580
円(税抜)
販売価格
2,838
円(税込)
2,580 円 (税抜)









![48mmx32m超強力万能ダクトテープ(白)[DUCK]](https://d11w49g8ylcixs.cloudfront.net/upload/save_image/200/EF9525_01_260113.jpg)

![M10x40mm[10.9]強力六角ボルト(ユニクロ2本](https://d11w49g8ylcixs.cloudfront.net/upload/save_image/200/EK1515_01_231102.jpg)

