Loading...
M15x150 ロングビッグアイボルト(SUS/鍛造)
- 商品コード:
- EM6524
- メーカー:
- JANコード:
- 4518340473249
- 税率:
- 10%
- 品番:
- EA638MD-216
- 学校版カタログ
- 非掲載
- 幼保版カタログ
- 非掲載
- 商品詳細
-
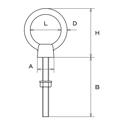
●使用荷重(kg)…350 ●サイズ(mm)…D:16、L:68、B:150、H:115、A:39 ●ねじ径…M16 ●材質…SUS304 ●重量(g)…813 ●付属品…六角ナット×1、丸ワッシャー×1 ●従来のアイボルトに比べてアイが2倍の大きさです。 ●首下が長いので、厚みのある部分に使用可能です。 ●機械器具類の吊り上げなど、一般の荷役に。 ●参考在庫数・商品詳細・サイズ情報はメーカー(参考)URLからもご確認いただけます。 ●最小出荷単位: 1
- 本体サイズ
- お手数をお掛けいたしますが、下記参考URLよりご確認ください。
- 個装サイズ
- お手数をお掛けいたしますが、下記参考URLよりご確認ください。
メーカー希望小売価格
12,300
円(税抜)
販売価格
13,530
円(税込)
12,300 円 (税抜)













